Широкополосные дипольные КВ антенны BBA-120
Встроенная грозозащита и защита от статического напряжения
Антенны других производителей этого ценового уровня не имеют данной весьма важной для профессионального использования функции.
Разъемы балуна защищены от климатических воздействий
Соединение балуна с коаксиальным кабелем защищено от дождевых влияний и предотвращает серьезные повреждения коаксиального кабеля, вызванные проникновением влаги внутрь кабеля.
Пыле и влагонепроницаемость балуна антенны
Высококачественный балун (симметрирующий трансформатор) соответствует стандарту IP-65.
Защита внутренних компонентов
Все внутренние соединения и элементы имеют защитное покрытие, соответствующее стандарту DEF STAN 59/47 (предотвращает образование плесени и обеспечивает устойчивость к воздействию солевых растворов).
Фарфоровые распорки и концевые изоляторы
В отличие от пластмассовых, фарфоровые изоляторы сохраняют изоляционные свойства под воздействием ультрафиолетового излучения (УФ) и предотвращают ослабление сигнала, которое в случае пластмассовых изоляторов происходит из-за образования на них грибковых и бактериальных наростов.
Все разъемы наружного подключения выполнены из нержавеющей стали.
Эффективность
Высокоэффективная базовая антенна, полностью покрывающая диапазон 2 - 30 МГц. Мощность 150 Вт (пиковая). Не требует антенного тюнера. Компактная, с минимальным горизонтальным разносом опор (30 метров), антенна при этом имеет большую эффективность излучения во всех направлениях, чем прочие подобные широкополосные диполи или антенны бегущей волны.
Прочность конструкции
Антенна изготовлена из нержавеющей стальной проволоки, покрытой сплавом алюминия, и стекловолоконных распорных трубок, устойчивых к ультрафиолетовому излучению. Антенна выдерживает ветровую нагрузку до 210 км/час.
Модели антенны
Данная серия антенн широко используется для профессионального применения в базовых КВ станциях. Антенна BBA-120Е отличается от BBA-120 длиной (52м) и обеспечивает более эффективную работу в диапазоне 1,6 - 3 МГц.
Установка
Антенна имеет небольшой вес, при этом отличается особой прочностью, ее вес и габариты обеспечивают легкую установку. Антенна BBA-120 может быть установлена, как в горизонтальной конфигурации, так и в форме перевернутой ‘V’.
При необходимости работы на очень низких температурах (до -600С) следует заказывать коаксиальный кабель с защитой от обледенения или же использовать альтернативный способ установки, при котором антенна запитывается с уровня земли по открытой симметричной линии. Балун в этом случае переносится на уровень земли, благодаря чему длина коаксиального кабеля, соединяющего балун с трансивером, значительно сокращается.
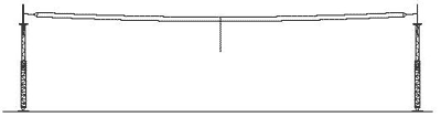
КВ широкополосная дипольная Антенна BBA-120 в горизонтальной конфигурации
КВ широкополосная дипольная Антенна BBA-120 Inverted Vee
При установке антенны в форме перевернутой V потребуются две короткие анкерные мачты или подходящие точки привязки для закрепления наземных концов антенны.

Техническая спецификация
| BBA-120 | BBA-120E | |
| Частотный диапазон | 2 - 30 МГц | 2 - 30 МГц с повышенной эффективностью на 2-4 МГц |
| Входное сопротивление | 50 Ом | |
| Входная мощность | 150 Вт (пик), 120 Вт (данные) | |
| КСВ | Не более 2:1 | |
| Длина антенны | 28 м | 52 м |
| Рекомендуемая высота мачт | 10 м минимум | |
| Расстояние между мачтами | 30 м минимум | 54 м |
| Ветровая нагрузка | 210 км/ч | |
| Температура | -30°С - +55°С Опция -40 +60 | |
| Вес в упакованном виде | 6 кг | 8 кг |
| Размеры в упакованном виде | 132.5 см x 31.5 см x 12 см | |
